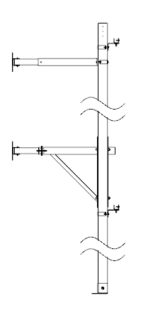
CINEMANEXT P-SCREEN. PILAR SOPORTADO EN EL SUELO. NÚMERO DE PILARES

https://erp.cinemanext.com/web/image/product.template/84365/image_1920?unique=7cf3be3

CNX-PID P056668 MPN P056668

For more information or see pricing contact your salesperson

    Esta combinación no existe.